
この度、弊社で出願しておりました「耐震スリット構造体、及びそれを利用した鉄筋コンクリート構造体」について、特許申請が受理されましたことをお知らせいたします。
詳細な内容については、後日公開を予定しております。
■出願番号
特許出願2023-212581
■発明の名称
耐震スリット構造体、及びそれを利用した鉄筋コンクリート構造体
■出願人
有限会社フジワラボーリング工業
■特許の要約
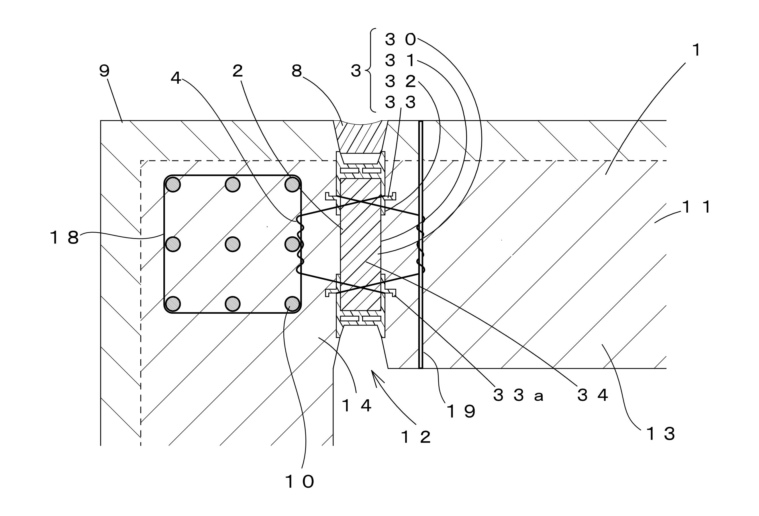
【課題】
既存のままの型枠を使用可能なものとし、より経済的に設置できる耐震スリット構造体、及びそれを利用した鉄筋コンクリート構造体を提供する。
【解決手段】 セメント系硬化物11の為に配筋された少なくとも1本の鉄筋10と、該鉄筋10の直径方向に間隔を隔てて対峙された剪断面壁31を有する耐震スリット材3と、該耐震スリット材3と該鉄筋10とに巻き掛けられ、該耐震スリット材3を支持するワイヤー4と、該耐震スリット材3の剪断面壁31に接するよう設けられ、該鉄筋10及びワイヤー4が一体に内包されたセメント系硬化物11と、を備え、セメント系ペーストの打設の圧力に抗して該耐震スリット材3が支持される。該耐震スリット材3が、セメント系硬化物11中の設計通りの位置に正確に一体化されたものになる耐震スリット構造体2。
【選択図】図1





